在互联网性能与可用性优化场景中,理解《cdn 加速原理与传统代理缓存机制的本质区别一文读懂》能帮助工程师和产品经理做出更合理的架构选择。本文以专业视角对比两者在部署位置、请求路由、缓存更新、安全与运维成本等核心层面的差异,便于快速判断何时使用CDN或传统代理以满足业务和SEO需求。
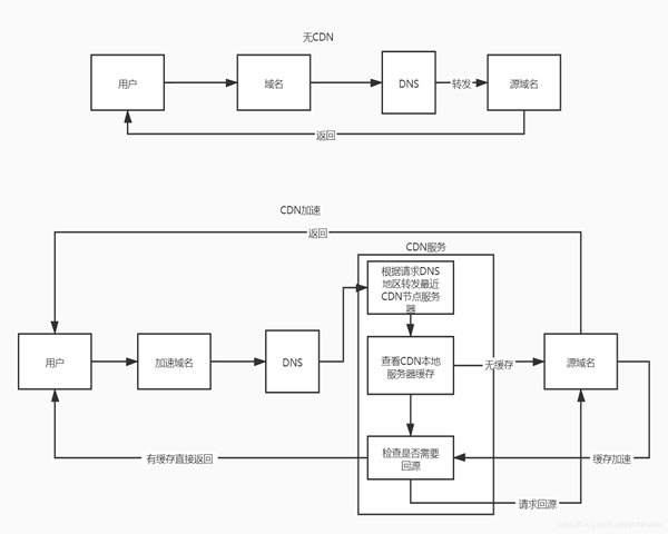
CDN(内容分发网络)通过在全球或区域布署大量边缘节点,将静态或可缓存内容靠近用户,提高访问速度并降低回源压力。核心技术包括DNS/Anycast路由、智能调度、缓存预热与回源降级。CDN更侧重于地理分布和网络传输优化,适合大规模、多地域流量场景,实现更高缓存命中率和更短的首字节时间(TTFB)。
传统代理缓存(如反向代理、正向代理或缓存代理服务器)通常部署在边缘或中心网络中,作为请求与源站之间的中间层。代理缓存依据HTTP头(Cache-Control、Expires)及本地策略进行缓存和失效处理。相比CDN,传统代理规模集中,适用于受控网络、局域环境或简单降载场景,但在全球分发和高并发下扩展受限。
本质差异在于拓扑:CDN是“分布式边缘”,在接近用户的网络节点缓存并响应;传统代理多为“集中式中间件”,位于企业边缘或数据中心。前者降低跨网骨干传输与延迟,后者便于集中控制和日志采集,但面临地理延迟和单点带宽瓶颈。
CDN常用DNS重定向或Anycast将请求引导至最优节点,并基于智能调度优化体验;代理缓存则依赖客户端直接连接或网络路由,通常无法实现跨地域的智能调度。DNS/Anycast带来的智能路由是CDN在全球加速中的关键优势。

在缓存一致性上,CDN提供全局失效、Purge、Stale-While-Revalidate等机制,并可对不同节点做分级回源与源站保护;传统代理更多依赖HTTP缓存头与本地失效策略,跨节点同步和瞬时清理能力较弱,造成缓存更新延迟和一致性挑战。
CDN通常集成DDoS缓解、WAF、TLS终止和流量调度,便于大规模防护与监控;传统代理在访问控制与自定义逻辑上更灵活但需自行扩容与安全防护,运维成本随流量增长而上升。选择时需权衡功能完整性、成本与可控性。
总结来看,CDN的本质是分布式边缘化与智能路由,侧重全球加速与高可用;传统代理则侧重集中控制与灵活策略,适合受控或小范围场景。建议根据流量分布、性能要求与安全需求混合使用:全球分发优先CDN,细粒度控制或内部网络可辅以代理缓存,从而兼顾性能、成本与SEO优化效果。